康帕斯法则
康帕斯法则概述[1]
康帕斯法则是商圈分析工具。
1943—1948年间,美国的伊利诺大学的经济学者康帕斯依据雷利的法则,进一步研究两个都市的行商势力范围,找出两都市之间的商圈均衡点(康帕斯法则也遵循雷利法则成立的3个假设前提)。
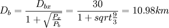
求均衡点的公式为:

式中:Db为B都市所见的A都市与B都市间的商圈均衡点;Dab为A都市与B都市间的距离;Pa为A都市的人口数;pb为由B都市的人口数。
康帕斯法则的运用[1]
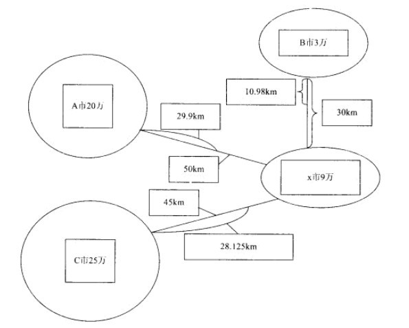
例如:以X都市为中心(如图),求出X与A、B、C各个城市之间商圈均衡点(即各自行商的界限)。
据以上例子,由X都市见到的X与A、B、C三都市间的行商均衡点距离Da、Db、Dc分别:
从以上计算和图示可以看出,康帕斯法则可找出多个零售商铺或商业街或都市相互间的行商界限,由此,确定各类零售商铺的商圈范围。
参考文献
免责声明:本内容来源于第三方作者授权、网友推荐或互联网整理,旨在为广大用户提供学习与参考之用。所有文本和图片版权归原创网站或作者本人所有,其观点并不代表本站立场。如有任何版权侵犯或转载不当之情况,请您通过400-62-96871或关注我们的公众号与我们取得联系,我们将尽快进行相关处理与修改。感谢您的理解与支持!







请先 登录后发表评论 ~