我可以看到用户通过AI智能体提问的内容吗,可以人工接管对话吗?
AI 智能体支持将访客与智能体的对话内容沉淀为“用户投稿”,人工侧可以在后台查看这些记录,但当前仅支持“内容留存与审核发布”,不能在线会话接入。
进入后台后,在左侧菜单点击“应用”,进入“AI智能体”,再进入“功能设置”,在智能体功能区可以看到“自动入用户投稿”的开关,当该开关开启后,访客与 AI 智能体产生的对话会被系统收集并进入后台内容流程。

开启“自动入用户投稿”后,系统会把对话内容以投稿的形式存入内容管理,你不需要额外配置,后续的对话记录会持续进入后台待处理队列。
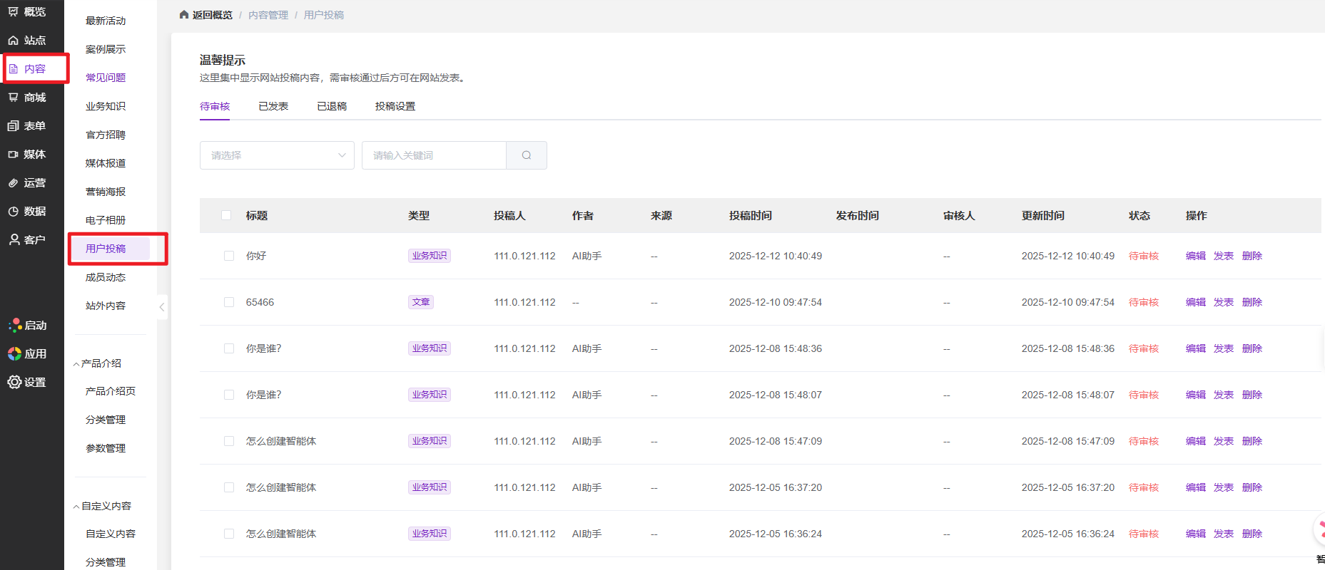
当你需要查看访客与 AI 智能体的聊天记录时,在左侧菜单点击“内容”,进入“用户投稿”,在“待审核”等列表中可以看到由 AI 智能体产生的记录条目,列表中会显示标题、类型、投稿人、作者、投稿时间、状态等信息,点击右侧的“编辑”可以查看对应内容详情,从而实现人工查看记录与追溯。

目前暂不支持人工客服直接接管对话。







请先 登录后发表评论 ~